En un mundo donde pasamos horas frente a monitores, televisores, tablets y smartphones, una patente estadounidense concedida en 2003 revela una verdad escalofriante que parece sacada de una distopía de ciencia ficción: es técnicamente posible manipular el sistema nervioso humano utilizando los campos electromagnéticos que emiten las pantallas cotidianas. Se trata de la patente US6506148B2, titulada Nervous system manipulation by electromagnetic fields from monitors (Manipulación del sistema nervioso mediante campos electromagnéticos procedentes de monitores), registrada por el inventor Hendricus G. Loos.
Esta no es una teoría conspirativa de internet. Es un documento oficial de la Oficina de Patentes de Estados Unidos, concedido el 14 de enero de 2003 tras ser solicitada el 1 de junio de 2001. Su resumen es directo y aterrador: “Se han observado efectos fisiológicos en un sujeto humano en respuesta a la estimulación de la piel con campos electromagnéticos débiles pulsados a ciertas frecuencias cercanas a ½ Hz o 2,4 Hz, de modo que excitan una resonancia sensorial. Muchos monitores de computadora y tubos de TV, al mostrar imágenes pulsadas, emiten campos electromagnéticos pulsados de amplitudes suficientes para causar dicha excitación. Por lo tanto, es posible manipular el sistema nervioso de un sujeto pulsando las imágenes mostradas en un monitor de computadora o televisor cercano”.
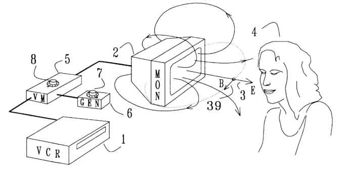
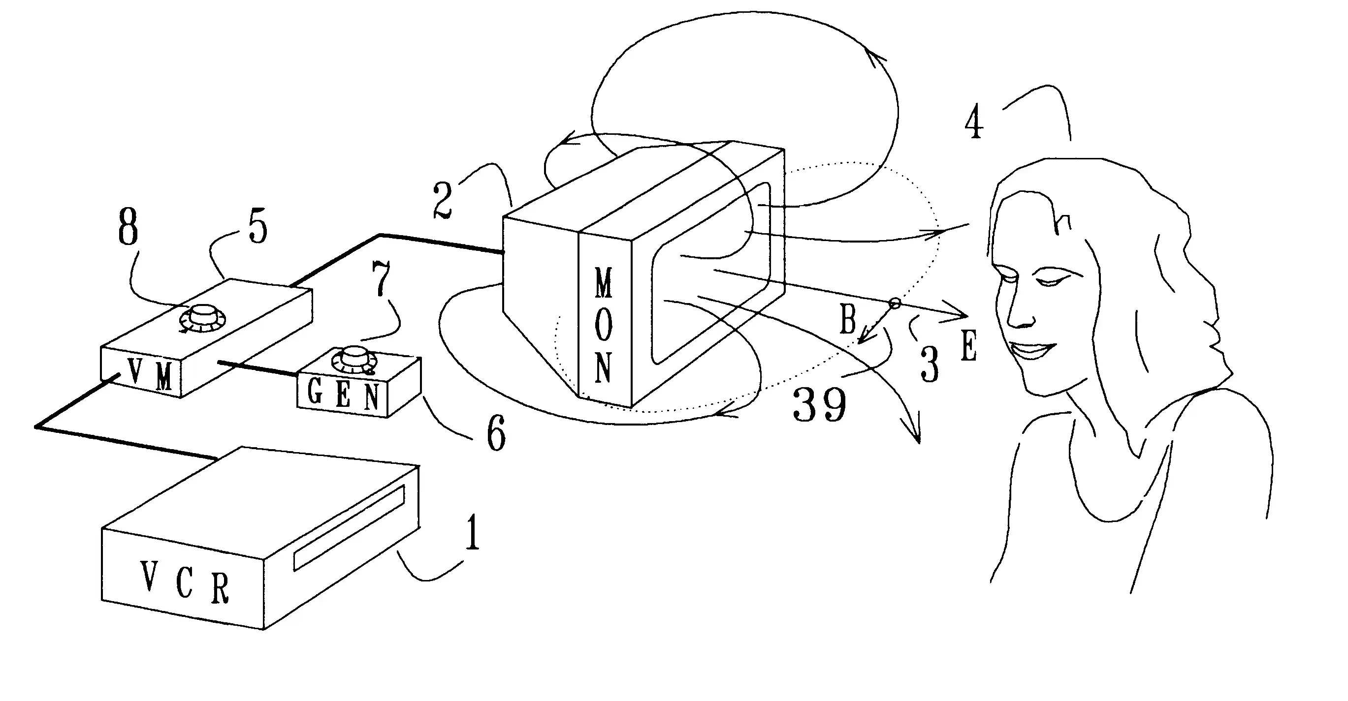
Lo más inquietante es que esta manipulación puede ser subliminal, es decir, invisible al ojo humano. El inventor explica detalladamente cómo un simple programa de computadora (incluso escrito en Visual Basic) puede pulsar la intensidad de la imagen en la pantalla a frecuencias específicas. Estos pulsos generan campos eléctricos y magnéticos débiles pero efectivos que actúan sobre los receptores de la piel, modulan la frecuencia de disparo de los nervios cutáneos y envían señales de modulación de frecuencia directamente al cerebro. El resultado: efectos fisiológicos reales como caída de los párpados, relajación profunda, somnolencia, presión en la frente, patrones visuales con los ojos cerrados, sonrisa tónica, tensión estomacal, diarrea o incluso excitación sexual.
La patente no se limita a monitores CRT antiguos; también menciona pantallas LCD y televisores. Los pulsos pueden incrustarse en el material de un programa de TV, superponerse en una señal de video, o incluso generarse mediante “oscilación de frecuencia” en señales RF. Y lo peor: puede hacerse sin que la persona sepa que está siendo manipulada. El propio documento lo reconoce de forma explícita: “Esto es lamentable porque abre la vía a aplicaciones maliciosas de la invención, mediante las cuales las personas son expuestas sin saberlo a la manipulación de sus sistemas nerviosos para propósitos de otros. Tal aplicación sería antiética y, por supuesto, no se promueve. Se menciona aquí para alertar al público sobre la posibilidad de abuso encubierto que puede ocurrir mientras se está en línea, o mientras se ve la TV, un video o un DVD”.
¿Cómo no sentir pánico ante esto? Hendricus G. Loos no es un desconocido en este campo oscuro. Tiene otras patentes relacionadas con la manipulación nerviosa mediante campos eléctricos, magnéticos, térmicos e incluso acústicos subliminales (como US5782874A, US5935054A o US6017302A). ¿Por qué un inventor privado dedicaría años a perfeccionar técnicas de control fisiológico a distancia? La patente se presenta como un “avance científico”, pero la realidad es que ofrece un manual paso a paso para que cualquiera —gobiernos, corporaciones, hackers o entidades con malas intenciones— pueda influir en el estado emocional, la atención, el sueño o incluso el comportamiento de millones de personas sin su consentimiento.
Imaginemos las implicaciones en 2026: durante una campaña electoral, mientras ves las noticias en tu televisor inteligente o navegas en redes sociales, un pulso subliminal a 2,4 Hz podría inducirte una sensación de calma artificial o, al contrario, ansiedad selectiva. Mientras trabajas frente al ordenador, un programa malicioso podría generar somnolencia para reducir tu productividad o, peor aún, alterar tu estado de ánimo. Y todo esto sin que sientas nada más que “cansancio” o “un mal día”.
Esta patente no es solo un trozo de papel. Es una prueba irrefutable de que la tecnología para el control mental a través de pantallas ya existe y está patentada. En un mundo dominado por pantallas que nos rodean 24/7 —desde el metro hasta el salón de casa—, ¿quién garantiza que no se esté utilizando? La propia Oficina de Patentes la concedió sabiendo sus riesgos. El inventor mismo alerta sobre el “abuso encubierto”. Y mientras tanto, seguimos pegados a nuestros dispositivos como si nada.
Es hora de despertar. Exijamos transparencia total sobre cualquier tecnología de pulsación de imágenes en streaming, televisiones inteligentes y software de monitores. Exijamos estudios independientes sobre los efectos reales de estos campos en la población. Porque si una patente de hace más de 20 años ya describía esto con precisión quirúrgica, ¿qué tecnologías clasificadas o en desarrollo existen hoy que ni siquiera conocemos?
La manipulación del sistema nervioso ya no es ciencia ficción. Está patentada. Y tú, lector, estás a centímetros de la pantalla que podría estar usándola ahora mismo.

